Manuel d'atelier pour SUZUKI DT 30 C
Manuel d'atelier pour SUZUKI DT 30 C
Bonjour à tous !
Comme certains d'entre-vous, j'ai commencé à restaurer un vieux bateau de 30 ans !!!
( voir mon post SBPEM S 430 ) et sa remorque !
Il est motorisé par un SUZUKI 3 cylindres de 1995 dont le moteur fonctionne, mais qui a un probléme de tringlerie d'inverseur ! Les commandes déportées glissent bien dans leurs gaines, la manette extérieure sur le moteur fonctionne mais il n'y a aucune accroche, la tige d'inverseur ne bouge pas ! ( Ni ne monte ni ne descend ! ) . L'hélice tourne bien dans l'embase !
Je présume donc qu'il y a casse d'un élément ou décrochage de la liaison haute de la tige sous le moteur !
Qui saurait me dire ce que je dois faire où si je dois déposer la tête motrice pour avoir accés à cette articulation ?
Mes compétences en méca ne me permettent pas de tomber le moteur à l'aveuglette, alors si vous pouvez me dire ou je peux me procurer le manuel d'atelier de ce moteur, je vous en serai gré !
En vous remerciant d'avance !
- Connectez-vous ou Inscrivez-vous pour commenter
-
Le 9 décembre, 2025 - 11:59
Bonjour
ci joint de la documentation pour votre moteur
https://we.tl/t-DfKAO03161
Valable jusqu'au 12/12
Salutations- Connectez-vous ou inscrivez-vous pour commenter
-
Le 9 décembre, 2025 - 14:52
Bonjour Papito et tous !
Whaou, quelle rapidité de réponse !
Un énorme merci pour ce manuel d'atelier qui va m'aider dans une tâche surement ... périlleuse !
J'ai quelques légères connaissances en mécanique, sans plus et je ne suis qu'un mécano du dimanche !!!!
Comme indiqué dans mon post, bien que la manette de commande d'inversion fonctionne, que le câble coulisse bien dans sa gaine, il n'y a aucun crabotage des pignons d'embase .
Ca fonctionne, oui, mais dans le vide !!!!
L'hélice est libre au neutre, les vitesses ne passent pas, car la tige d'inversion ne bouge pas !
Je suppose donc que l'articulation haute de la tige située sous la tête motrice, est HS ou peut-être seulement décrochée de la manette !!!!!
Pour aller voir, réparer ou remplacer des pièces, il me faut démonter des éléments du moteur, mais lesquels ?
Faut-il démonter les carters secs pour tomber la tête motrice ou autre chose ????
Je fais appel aux bonnes âmes et j'attends impatiemment vos bons conseils !
En vous remerciant par avance ! farani- Connectez-vous ou inscrivez-vous pour commenter
-
Le 9 décembre, 2025 - 16:09
Je pense que vous devriez démonter l'embase
lorsque celle ci sera démonter vous pourriez essayer de tourner l'axe de commande situé sur l'avant de l'embase
Salutations- Connectez-vous ou inscrivez-vous pour commenter
-
Le 10 décembre, 2025 - 15:10
Hello Papito, merci pour ton conseil !
Je vais faire ça et peut-être que j'y verrai plus clair !
On ne voit pas bien la commande haute de l'inversion.
Je donnerai suite ! ByeFichiers :- Connectez-vous ou inscrivez-vous pour commenter
-
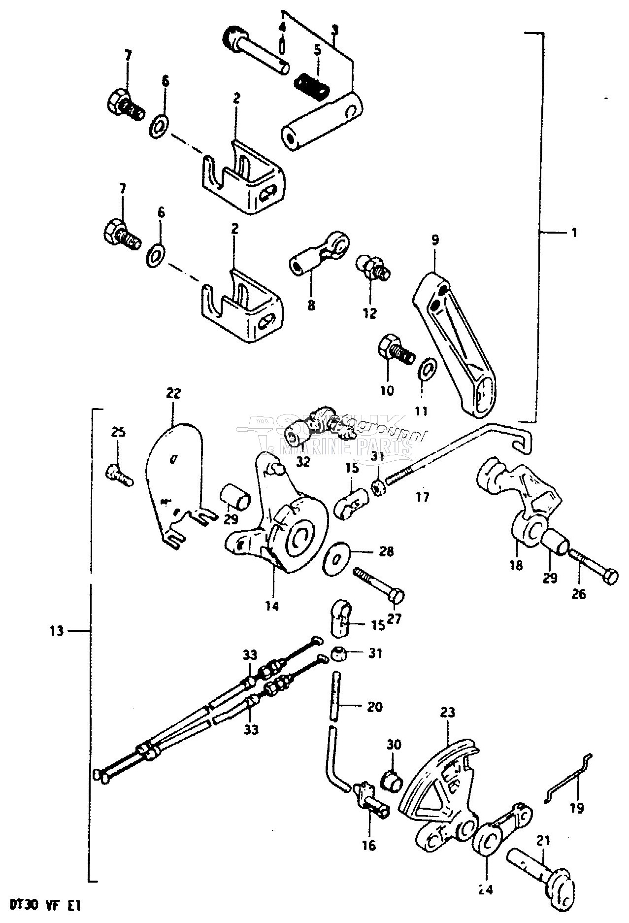
Le 11 décembre, 2025 - 15:07
Bonjour
ci joint images pour information il existe plusieurs modèles
Salutations- Connectez-vous ou inscrivez-vous pour commenter
-
Le 15 décembre, 2025 - 10:52
Hello papito, merci pour les shémas !
Je vais démonter l'embase avec précaution car ça n'a pas du être démonté depuis Math Usalem !!!!!!
Hier j'ai cassé la tête du boulon qui bloque l'anode d'embase qui était corrodée à 80 % !
A+- Connectez-vous ou inscrivez-vous pour commenter
-
Le 14 mars, 2026 - 10:14
Bonjour papito....et tous, "vous ôtes"!

Après de multi essais de démontage et de manipulations infructueuses, malgré tes shémas , tes explications
et toute l'aide que tu m'apportes, j'ai du me résilier à la dure vérité
: Je suis pas mécano !
J'ai eu peur de casser, alors j'ai contacté un atelier marine et j'y ai déposé le moteur .
Hier, je l'ai récupéré réparé !
Le mécano m'a montré la pièce cassée qui fait l'articulation entre la manette et la tige d'inversion !
C'est un tout petit bout de plastique qui ne coute qu'une 20 aine d'€, mais qui a demandé un démontage
important puisque cette pièce est située dans la cuvette, sous le moteur !
On pourrait se demander pourquoi cette pièce n'est pas métallique, puisque difficile d'accès ?
Actuellement je poursuis ma restauration du tableau arrière qui a un peu souffert
, je posterai des photos bientôt !
Merci encore papito ! Au plaisir !Fichiers :- Connectez-vous ou inscrivez-vous pour commenter








